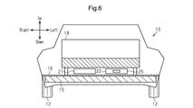
Toyota sta studiando nuove soluzioni tecniche per migliorare l’architettura delle sue future auto elettriche. Due brevetti depositati nel 2025 e pubblicati nel 2026 descrivono una diversa disposizione dei principali componenti del sistema di trazione, con l’obiettivo di ottimizzare spazi interni, distribuzione dei pesi e flessibilità progettuale. Nei documenti, motori elettrici e unità di controllo non sono più concentrati attorno alla batteria sotto il pavimento, ma collocati in moduli separati posizionabili davanti, dietro o tra i sedili anteriori. Questa scelta potrebbe ridurre l’ingombro del pacco batterie e offrire maggiori possibilità nella progettazione dell’abitacolo, rendendo l’architettura adatta anche a modelli più bassi come berline e compatte. Lo spostamento dei componenti influirebbe anche sul bilanciamento del veicolo e sulla lunghezza dei cablaggi, con potenziali benefici per guida ed efficienza. Come per tutti i brevetti, non è certo un futuro utilizzo su modelli di serie.

Mostra di meno
Vedi di più