Toyota sposta le batterie per rendere le auto elettriche più spaziose
I documenti mostrano una diversa disposizione di batterie e motori per migliorare abitabilità, sicurezza ed efficienza dei futuri EV
Toyota sta valutando nuove configurazioni tecniche per le sue future auto elettriche. Lo rivelano due brevetti depositati nel 2025 e resi pubblici all’inizio del 2026, che descrivono un’architettura alternativa per la disposizione di motori elettrici, componenti di controllo e batterie.
I documenti, individuati inizialmente da Autoblog, offrono indicazioni su come il marchio giapponese stia cercando di superare alcuni limiti dei veicoli elettrici attuali, in particolare quelli legati allo sfruttamento degli spazi e al bilanciamento del veicolo.
Una disposizione diversa per guadagnare spazio
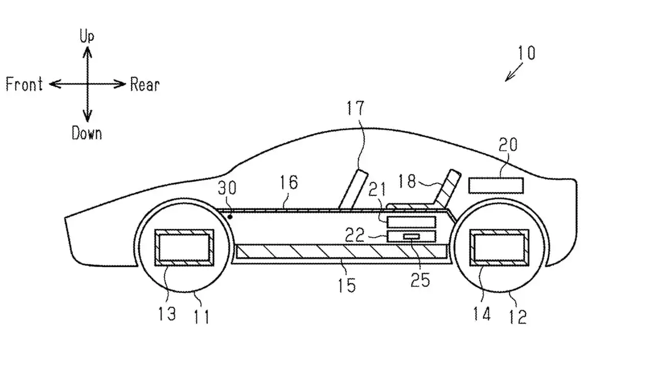
Nei brevetti, Toyota immagina un’auto elettrica con due file di sedili in cui alcune parti fondamentali del sistema di trazione non sono più concentrate solo attorno alla batteria, collocata sotto l’abitacolo.
Al contrario, motore elettrico e centralina di gestione della potenza vengono riuniti in unità elettromeccaniche separate, che possono essere posizionate davanti o dietro il pacco batterie, oppure all’interno di un tunnel centrale tra i sedili anteriori.
Questa scelta potrebbe ridurre lo spessore complessivo richiesto per l’alloggiamento della batteria, lasciando maggiore libertà nella progettazione degli interni.
Toyota, nuovi brevetti per auto elettriche più spaziose
Una soluzione di questo tipo permetterebbe di modulare meglio lo spazio a disposizione dei passeggeri e del vano bagagli, ma anche di adattare la stessa base tecnica a modelli con proporzioni diverse. In prospettiva, ciò potrebbe facilitare l’arrivo di auto elettriche più basse e compatte, come berline o hatchback, senza rinunciare a comfort e praticità.
Spostare alcune componenti lontano dalla batteria potrebbe inoltre contribuire a una gestione più efficace degli elementi sensibili dal punto di vista della sicurezza.
Equilibrio dinamico e soluzioni già sperimentate
Uno dei brevetti Toyota prende in considerazione anche lo spostamento di diversi dispositivi legati alla batteria sotto la seconda fila di sedili, in una posizione compresa tra il pacco batterie e una delle unità elettromeccaniche. Una configurazione simile inciderebbe sulla distribuzione delle masse, un fattore determinante per la stabilità e la sensazione di guida.
Riposizionare i componenti più pesanti consente infatti agli ingegneri di intervenire sul bilanciamento complessivo dell’auto, con possibili benefici sul comportamento su strada.
Un’ulteriore conseguenza di questa architettura potrebbe essere la riduzione della lunghezza dei cablaggi necessari a collegare i vari elementi del sistema elettrico. Meno cavi significa minore peso, meno ingombro e potenzialmente una migliore efficienza complessiva.
Toyota ha già maturato esperienza in ambito elettrico con configurazioni a doppio motore. Inoltre, tra i dettagli emersi compare anche un riferimento a un sistema di simulazione del cambio manuale per veicoli elettrici, una soluzione che la Casa aveva già mostrato in forma sperimentale su una versione elettrica della Lexus UX, modello del marchio premium del gruppo Toyota.
La simulazione del cambio manuale per veicoli elettrici
Come sempre accade con i brevetti, non è detto che queste tecnologie arrivino direttamente sulla strada: si tratta spesso di studi preliminari. Tuttavia, offrono uno sguardo concreto sulle aree di sviluppo su cui Toyota sta concentrando il proprio lavoro di ricerca, come dimostra anche un altro brevetto firmato dalla stessa ingegnera, Nanae Iwasaki, pubblicato nel 2024 e dedicato alla gestione intelligente della ricarica in base alla temperatura di motori e inverter.
Consigliati per te
Siamo stati nella città del futuro di Toyota, tra robot e bus autonomi
La Xiaomi YU7 GT è il SUV più veloce al mondo al Nurburgring
Troppi SUV: l’America valuta il ritorno alle berline
Le ultime Tesla Model S e Model X sono fatte così
Toyota si allea con Daimler e Volvo per l’idrogeno
Le 10 mete più popolari da raggiungere in auto elettrica
L'offroad con un'auto elettrica è possibile? Sì, e senza compromessi