Siamo stati nella città del futuro di Toyota, tra robot e bus autonomi Woven City, il "campo di prova per la mobilità" di Toyota, ha aperto di recente. Ecco cosa ho visto durante una visita. Di Fabio Gemelli Tecnologia - 11 Mag
Troppi SUV: l’America valuta il ritorno alle berline Più economiche dei crossover, le care sedan aiuterebbero a ridurre i prezzi delle auto Di Ezio Notte Attualità - 27 Apr
Toyota si allea con Daimler e Volvo per l’idrogeno Accordo preliminare per entrare nella joint venture cellcentric e accelerare lo sviluppo di celle a combustibile per veicoli Di Riccardo Ciriaco Attualità - 31 Mar
L'offroad con un'auto elettrica è possibile? Sì, e senza compromessi Mercedes, Jeep, Land Rover: sono tanti i modelli 4x4 dall'impostazione dura e pura. Non temono il fuoristrada anche se sono a batteria Di Francesco Barontini Attualità - 27 Mar
Toyota investe 800 milioni per costruire un secondo EV negli USA In parallelo, Toyota sta ampliando l’impianto in Indiana per sostenere la produzione di modelli di grandi dimensioni Di Eleonora Lilli Mercato e industria - 24 Mar
La Toyota RAV4 diventa powerbank della casa (per una settimana) Con la modalità "HV power supply", la RAV4 PHEV alimenta un'abitazione per quasi 7 giorni (ma solo in Giappone) Di Alberto Carmone Tecnologia - 24 Feb
La Toyota Yaris potrebbe diventare un’auto elettrica Nel 2027 arriverà la quinta generazione della compatta giapponese. Che, forse, non sarà solo ibrida o termica Di Ezio Notte Anticipazioni - 20 Feb
La batteria allo stato solido di Toyota ha 1.000 km di autonomia Insieme alla big oil Idemitsu Kosan, la Casa produrrà accumulatori per auto elettriche con tanti chilometri e ricarica in 10 minuti Di Francesco Barontini Batterie - 11 Feb
Toyota ha un nuovo ceo: cosa succede all’auto elettrica Koji Sato lascia il posto a Kenta Kon, ma la transizione non cambia (con l’aiuto della Cina) Di Ezio Notte Mercato e industria - 9 Feb
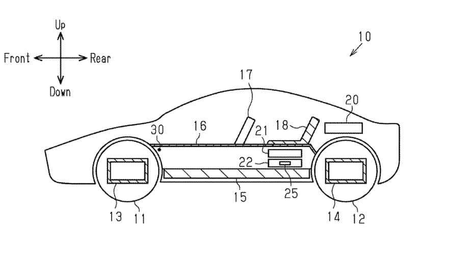
Toyota sposta le batterie per rendere le auto elettriche più spaziose I documenti mostrano una diversa disposizione di batterie e motori per migliorare abitabilità, sicurezza ed efficienza dei futuri EV Di Eleonora Lilli Prototipi & concept - 6 Feb
Batterie allo stato solido? Dal 2030: parola di Honda e Toyota Le Case giapponesi vogliono risolvere problemi strutturali e mettere a punto metodi produttivi affidabili. Ma intanto, in Cina... Di Francesco Barontini Batterie - 27 Gen
L’ultima sfida dei produttori: che nome dare alle auto elettriche? Volkswagen dice addio alla ID.4, che diventa ID. Tiguan, mentre Mercedes abbandona il prefisso E: ecco perché Di Ezio Notte Attualità - 27 Gen
Questa Toyota elettrica sta conquistando la Cina La bZ3X si conferma straniera a zero emissioni più venduta nel Paese del Dragone. E per il secondo mese supera le 10.000 unità Di Francesco Barontini Attualità - 2 Dic 2025
Tutto quello che sappiamo sulla Toyota con batterie allo stato solido In arrivo entro il 2028, l’auto sarà probabilmente una sportiva coupé a due posti, ovvero l’erede elettrica della Lexus LFA Di Riccardo Ciriaco Anticipazioni - 7 Nov 2025
Tutto quello che sappiamo sulla Toyota Corolla elettrica La berlina giapponese tornerà in veste inedita fra il 2026 e il 2027: le anticipazioni Di Riccardo Ciriaco Anticipazioni - 5 Nov 2025
La Toyota bZ torna come auto da corsa (con 400 CV) Il crossover elettrico giapponese si abbassa di 15 cm ed eroga più potenza: le specifiche Di Riccardo Ciriaco Prototipi & concept - 3 Nov 2025
Toyota conferma: le batterie allo stato solido arrivano nel 2028 Al Japan Mobility Show, il marchio nipponico ribadisce la roadmap verso i futuri accumulatori per auto elettriche Di Riccardo Ciriaco Batterie - 31 Ott 2025
Toyota prepara la produzione di batterie allo stato solido Siglato un accordo con la connazionale Sumitomo Metal Mining per la fornitura in grandi volumi di materiale catodico. Esordio nel 2028 Di Francesco Barontini Batterie - 8 Ott 2025
Le Case credono ancora nell'auto elettrica? Sì, ma rivedono i piani Hyundai è solo l'ultima in ordine di tempo. Tanti costruttori aggiustano le strategie verso l'elettrificazione. Cosa sta cambiando? Di Francesco Barontini Mercato e industria - 22 Set 2025
Toyota ha un trucco per incoraggiare la ricarica delle auto plug-in L’app ChargeMinder invia notifiche mirate che spingono gli automobilisti al pieno delle batterie nei PHEV: ecco come funziona Di Riccardo Ciriaco Ricarica e colonnine - 21 Set 2025
Ufficiale la produzione europea di auto elettriche (e batterie) Toyota La Casa conferma le voci circolate un mese fa. Stando ad altre indiscrezioni, le vetture saranno SUV che entreranno in vendita nel 2028 Di Riccardo Ciriaco Mercato e industria - 3 Set 2025
Le vecchie batterie di Toyota alimentano la fabbrica Mazda Il sistema integra i pacchi batteria di auto elettriche, inclusi gli inverter, come buffer nell'alimentazione energetica Di Riccardo Ciriaco Batterie - 22 Ago 2025
Toyota: per raggiungere la neutralità carbonica l'elettrico non basta La Casa giapponese continua a credere in una strategia multialimentazione: ma la voglia di vendere più BEV è alta Di Francesco Barontini Attualità - 13 Ago 2025
Gli automobilisti sono stanchi degli abbonamenti Sedili riscaldati, telecamere o sistemi di parcheggio automatico sono solo alcuni dei tanti servizi su abbonamento oggi disponibili Di Gianmarco Gori Attualità - 31 Lug 2025