Svelati i brevetti Tesla per le batterie strutturali con celle 4680
La Casa deposita la nuova tecnologia: potrebbe esordire entro l'anno sui modelli prodotti in Texas, Cybertruck e Model Y
La prossima generazione dei veicoli Tesla, incluso il Cybertruck e la Model Y prodotta a Austin, sarà probabilmente dotata delle batterie strutturali. E con queste, la Casa di Palo Alto adotterà quasi sicuramente anche le nuove celle 4680.
Si tratterà di una svolta consistente (se non epocale) che permetterà a Elon Musk e soci di effettuare un nuovo passo in avanti dopo le piattaforme cosiddette skateboard, che stanno diventando ormai lo standard di riferimento per tutte le auto elettriche più moderne. Oggi, grazie alla pubblicazione di una serie di brevetti, possiamo avere delle interessanti informazioni in più.
La svolta delle batterie strutturali
Durante il Battery Day dello scorso settembre Musk aveva annunciato una serie di novità che sarebbero state introdotte gradualmente. Tra queste, appunto, le batterie strutturali con celle 4680 che avrebbero offerto due enormi vantaggi.
- Maggiori prestazioni in termini di densità energetica e autonomia (che dovrebbe aumentare di circa il 12%)
- Maggiore semplicità costruttiva con relativo abbattimento dei costi grazie alla realizzazione della scocca in un minor numero di componenti
Inoltre, l’adozione di un pacco batteria in grado di avere una funzione portante a livello di scocca, dovrebbe portare a una riduzione del peso di circa il 10% a parità di rigidità torsionale.
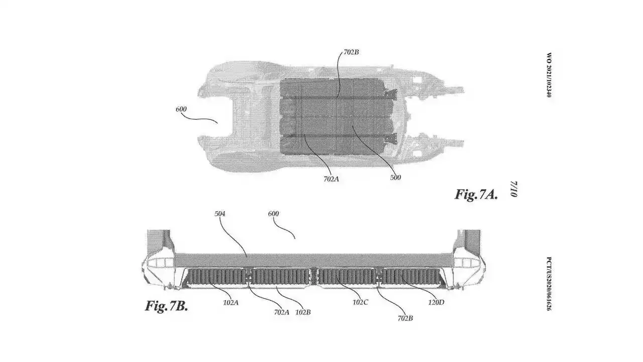
La descrizione del brevetto
Torniamo al presente. Ad oggi nessuna Tesla adotta ancora né questa soluzione costruttiva per la scocca né le celle 4680, che dovrebbero esordire presto con Tesla Semi e Model S Plaid+. Come detto però la Casa ha recentemente depositato un brevetto per un pacco batteria con funzioni portanti, chiaro segnale del fatto che questa soluzione possa presto essere utilizzata.
Nella documentazione relativa al brevetto si legge che la parte inferiore del pacco batteria dovrebbe essere realizzata in un materiale altamente resistente alla deformazione, in grado di potersi deformare in modo controllato anche in caso di violento urto per preservare l’integrità delle celle. Non solo, il pacco dovrebbe essere dotato di una tecnologia in grado di consentire l’uscita di gas dalla batteria se questa fosse in qualche modo danneggiata.
Si parte dal Texas?
Ora, si pensa che questo tipo di scocca e di batteria possano iniziare ad essere utilizzate già entro la fine del 2021. La prima fabbrica dalla quale dovrebbero uscire i veicoli di nuova concezione dovrebbe essere Austin, in Texas, dove è appena stata avviata la produzione della Model Y (ancora su piattaforma skateboard, ma già attraverso le Gigapress) e il Cybertruck.
E a Berlino? Per la Gigafactory tedesca per ora l’attenzione è rivolta principalmente sulla risoluzione dei problemi che ne stanno ritardando l’inaugurazione.
Fotogallery: Tesla: i brevetti per le batterie strutturali
Consigliati per te
Tesla Model Y è la prima auto promossa ai nuovi test di guida autonoma
Tra le nuove citycar Fiat elettriche c'è una buffa monovolume
Perché la Tesla Model Y L potrebbe arrivare in Europa
Stellantis accelera sul software con la piattaforma STLA Brain
La Tesla Model Y ha il 92% di batteria dopo 180.000 km e ricariche fast
Batterie LFP e 800 volt: così nasce la nuova piattaforma Stellantis
Avvistata la Tesla Model Y L fuori dalla Cina: arriva in Europa?